Altes Tauchen -> Altes --> Neue Welle bei Tauchgeräten?

Helmut Keßner, POSEDON 1964

Nachdem in einer Reihe von Ausgaben unserer Zeitschrift verschiedene Autoren zu Problemen der zweistufigen, getrennten Lungenautomaten Stellung genommen haben („poseidon" 1, 9 und 10/64), wird Helmut Keßner im folgenden Beitrag versuchen, einen überblick über konstruktive Merkmale verschiedener Typen dieser Automaten zu geben und ihre Vorteile abzuwägen.

Der Einschlauchregler kam Anfang der 50er Jahre vor allem in Amerika in Gebrauch. Seitdem wird er in vielen Ländern mehr und mehr benutzt. Durch die Tiefenrekorde von Hannes Keller, der einen zweistufigen Einschlauchregler verwendete, fand dieses System allgemeine Beachtung.
Der zweistufige Einschlauchregler ist ein Regler, dessen 1. Stufe (Bild 2 und 3) konstruktiv von der 2. Stufe, dem eigentlichen Lungenautomaten (Bild 4 bis 7), getrennt und mit ihr lediglich durch einen Druckschlauch verbunden ist. Da Lungenautomat bzw. 2. Stufe und Mundstück eine Einheit bilden, fallen die Atemschläuche fort. Die ausgeatmete Luft wird direkt am Mund, je nach Ausführung des Reglers, seitlich-beidseitig oder nach vorn über entsprechende Ventile ins Wasser abgeblasen. Das Gewicht des Lungenautomaten ist sehr gering, er wiegt kaum mehr als ein Ventilmundstück.

Bei vielen Konstruktionen dient der Ausatemkrümmer gleichzeitig als Kinnstütze (siehe Bild 4 und 5). Mundstück und Automat werden meist durch ein Nackenband abgefangen und gegen unbeabsichtigten Verlust geschützt. Viele Regler weisen an der Frontseite einen Druckknopf auf, mit dessen Hilfe das lungenautomatische Ventil per Hand betätigt und damit eingedrungenes Wasser entfernt werden kann. Die äußere Form der Mundregler ist verschieden, meistens jedoch haben sie eine mehr oder weniger flache und elegante Diskusform, die allgemein aus gedrückten Schalen gebildet wird. Die Membrane hat einen Durchmesser von durchschnittlich 50-80 mm.
Die lungenautomatischen und Ausatemventile sind meistens exentrisch an den Stirnseiten der Gehäuse angeordnet.

Man unterscheidet zwei Arten von Atemventilen: mit dem Druck (Bild 1 und 4) und gegen den Druck schlieende (Bild 1 a, 5, 6 und 7). Beide Systeme sind für geteilte Regler gleich gut geeignet. An beiden wird vielfach das Venturi-Prinzip mit Erfolg angewendet. (Dabei wird die aus dem lungenautomatischen Ventil ausströmende Luft mit Hilfe einer Injektordüse in den Einatemschlauch bzw. in das Mundstück geblasen; infolgedessen entsteht unter der Membrane ein Sog, der ihre Wirksamkeit auf das Hebelsystem unterstützt und damit die Einatmung erleichtert.)
Das Reduzierventil (1. Stufe) sitzt am Flaschenventil und mindert den Flaschendruck (maximal 150-200 atü) auf den Arbeitsdruck von 2-10 atü. Die optimale Auslegung der Reduzierstufe ist entscheidend dafür, daß der Lungenautomat (2. Stufe) auch beim Abfallen des Flaschendrucks genügend Luft abgeben kann. Ebenso muß der Druckschlauch einen ausreichenden Querschnitt aufweisen, der hohen Durchsatz erlaubt. Wie entscheidend solche „kleinen" Konstruktionsmerkmale sein können, wird aus der einfachen Überlegung ersichtlich, daß ein Taucher in 60 m Tiefe etwa 210 1 Luft/min verbraucht und eine auf 150 atü gefüllte 7-1-Flasche in etwa vier Minuten leeratmen kann. An diesem Beispiel des annähernd normalen Luftverbrauchs wird klar, daß die große Durchflußmenge der Reduzier- und Atemventile entscheidend für die Funktion des Reglers ist.

Die Reduzierstufen weisen zwar keine grundsätzlichen, doch interessante konstruktive Unterschiede auf. Die bekannteste Variante ist
von den zweistufigen Reglern abgeleitet (Bild 2). Hier wird. die Luft auf der Hochdruckseite durch einen Ventilstein (12) abgesperrt. Ein Stößel (7), mit der Membrane (6) und der Feder (4) verbunden, drückt diesen so weit zurück, bis ein genügend hoher Luftdruck in der Niederdruckkammer (16) entstanden ist, der die Feder wieder zusammenpreät. Mit Hilfe einer Schraube (3) kann der reduzierte Druck durch Verändern der Federvorspannung (4) variiert werden.

Bei einer anderen Bauart (Bild 3) kann der Zwischendruck während der Funktion nicht verändert werden. Sie ist geschlossen aufgebaut und arbeitet mit einem Kolben an Stelle der Membrane. Der Kolben (8) bildet das Hauptstück. Die Feder (7) drückt den Kolben vom Ventilsitz (5) so lange ab, bis durch die Bohrung (9) in der Zylinderkammer (11) der Druck analog der Federkraft (7) ist. Ein in jeder Tiefe gleicher Zwischendruck ist dadurch garantiert, dafl der jeweilige Wasserdruck zusätzlich zur Kraft der Feder (7) auf den Kol-
ben (8) wirkt. Dieser Typ (SEA LUNG) arbeitet mit relativ geringem Zwischendruck. Dieses Gerät arbeitet mit geringem reduziertem Druck.
An vielen Reduzierventilen sind Warnsignale oder Reserveschaltungen eingebaut, die bei einem Flaschendruck von etwa 20-30 atü ansprechen.
Man muß abwarten, inwieweit der zweistufige Einschlauchmundregler in Zukunft Konkurrent des Reglers mit Atemschläuchen sein wird. Als Vorteile gelten die hohe Durchflußmenge der Luft, was für Arbeiten unter Wasser wichtig ist, sowie der geringe Aus- und Einatemwiderstand. Zur Unterwasserverständigung lassen sich derartige Regler leicht mit einem Mikrophon koppeln, und für Ausbildungszwecke scheint der Einschlauchautomat ebenfalls gut geeignet, besonders für Gewöhnungsübungen wie An- und Ablegen des Gerätes unter Wasser oder das Atmen zweier Taucher aus einem Gerät.


Bild 1: Schema eines mit dem Druck schließenden Ventils
Das Stellglied wird durch den Druck an den Ventilkrater gepreßt und dichtet sl ab. Es wird durch einen Stoßet oder Hebel entweder axial abgehoben oder über den Ventilkrater abgekippt

Bild 1a: Gegen den Druck schließendes Ventil
Das Stellglied wird durch Federkraft gegen den Druck auf den Ventilkrater gepreßt und beim Offnen über ein Hebelsystem abgezogen oder abgehoben.


Bild 2: Reduzierventil (1. Stufe), regelb. Zwischendruck
1 – Gehäuse, 2 – Federsitz, 3 – Verstellschraube, 4 – Feder, 5 – Membranenaufsatz, 6 – Membrane, 7 – Stößel, 8 – Niederdruckauslaß, 9 – Flaschenanschluß, 10 – Ventilgehäuse, 11 – Feder, 12 – Ventilstau, 13 – Schraube, 14 – Null-Ring, 15 – Ausgleichbohrung, 16 – Niederdruckkammer


Bild 3: Reduzierventil des amerik. Reglers SEA LUNG
1 – Gehäuse, 2 – Wasserdruckloch, 3 – 0-Ringdichtungen, 4 – Niederdruckschlauch, 5 – Ventilsitz, 6 – Flaschenanschluß, 7 – Feder, 8 – Kolben, 9 –Bohrung, 10 – Zylinder, 11 – Niederdruckkammer
Klick für Vergrößerung

Bild 4:
Lungenautomat (2. Stufe), Eigenbau des Autors

1 – Ausatemkrümmer, 2 – Membrane, 3 –Druckknopf, 4 – Gehäuse, 5 – Ventilstein, 6 – Feder, 7 – 0-Ring, 8 – Uberwurfmutter, 9 – Niederdruckschlauch,
10 – Nackenband, 11 – Mundstück, 12 – Ausatemventil
Klick für Vergrößerung
Bild 5:
Lungenautomat des amerikanischen Reglers DACOR
1 – Membrane, 2 Gehäuse, 3 – Druckknopf, 4 – Hebel 1, 5 – Hebel II, 6 –Feder, 7 – Ausatemventil, 8 – Stöße!,
9 – Venturi-Düse, 10 – Dichtstein, 11 – Justierschraube, 12 – Niederdruck-schlauch, 13 – Ausatemkrümmer, 14 –Mundstück, 15 – Ausgleichbohrung, 16 – Nackenband

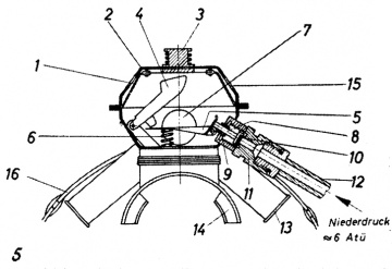
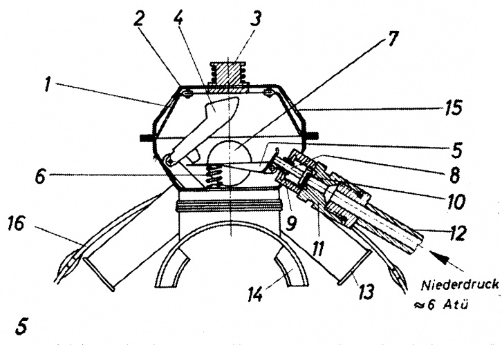
Bild 6:
Lungenautomat des Reglers POSEIDON CYKLON

1 – Membrane, 2 – Gehäuse, 3 – Ausatemventil, 4 – Schutzkorb, 5 – Hebelstange, 6 – Gehäuserohr, 7 – Justier-schraube, 8 – Feder, 9 – Ventilstein, 10/11 – Niederdruckanschluß, 12 – Venturidüse, 13 – Hebel in Arbeitsstellung, 14 – Mundstück, 15 – Ausgleichbohrung
Klick für Vergrößerung
Bild 7:
Lungenautomat des amerikanischen Reglers SEA LUNG

1 – Gehäuse, 2 – Ausgleichbohrung, 3 – Druckknopf, 4 – Membrane, 5 –Hebel, 6 – Justierschraube, 7 – Feder, 8 – Ausatemkrümmer, 9 – Ventilstein, 10 – Null-Ringdichtung, 11 – Uberwurfmutter, 12 – Niederdruckschlauch, 13 –Nackenband, 14 – Mundstück, 15 – Ausatemventil

Altes Tauchen -> Altes --> Seitenanfang                                   Letzte Änderung: 26.12.21